
一、品牌介绍:
上海意嘉泵业制造有限公司生产的潜水搅拌机、低速潜水推流器、双曲面搅拌机、潜水曝气机、射流曝气机、旋流曝气器、机械格栅、污水处理设备等产品,拥有完整、科学的质量管理体系。济上海意嘉泵业的诚信、实力和产品质量获得业界的认可。
二、设备名称:
离心式曝气机、潜水曝气机、潜水离心曝气器、自吸式潜水曝气机、潜水射流曝气机、曝气器、qxb 潜水曝气 、dsa系列潜水曝气机、潜水离心曝气机、潜水推流曝气机、曝气机、污水处理曝气机、射流曝气机、表面曝气机,造流曝气机。
三、型号表示方法:

四、设备用途:
QXB型离心式潜水曝气机用于污水处理厂曝气池、曝气沉砂池,对污水污泥的混合液进行充氧及混合,以及对污水进行生化处理或养殖塘增氧,进气量为10-32m3/h,增氧能力0.37-24kg2/h,电机功率为0.75-22kw。
五、设备原理:
QXB型离心式潜水曝气机采用电机和叶轮直接联结传动结构,简称直联式。旋转的叶轮在水中产生一个离心力,通过离心力在叶轮周围形成一个负压区,空气通过进气管被吸入,被吸入的空气和水在混合盘内混合,随后这种良好的均匀的混合物自动从排出口四周喷出。由于水流喷射极强,造成有效的水流循环,使空气被剪切成大量的微小气泡。极大提高了其表面积,且由于气泡上升缓慢使空气中大量的氧溶于水中,使得该机动力效率优于其它种类的曝气机。
此过程包括以下几个方面:混合盘中的空气与水混合产生气液混合效应,出口排出的气液混合液形成循环和对流;大量空气分子中的氧气高速运动获得一个极高的氧气吸收效率。
六、结构特点:
(1)潜水离心式曝气机采用引进德国ABS潜污泵技术,叶轮流道采用无堵塞式,运行安全、可靠;
(2)潜水离心式曝气机无需要提供气源,省去鼓风机,工程投资少;
(3)潜水离心式曝气机吸入空气多,产生气泡多而细,溶气率高;
(4)潜水离心式曝气机除吸气口外,其余部分潜入水中运行、噪声小;
(5)潜水离心式曝气机结构紧凑、占地面积小、安装方便。
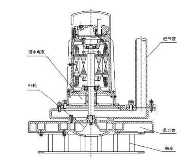
七、结构示意图:

八、设备特性:
1、独特的混气室设计,吸入空气量多,混合效果好,氧气溶解率较高,微小气泡所占比率大,充氧效率高且充氧面积宽;
2、气水混合液以特殊的角度从混气室中排出,可使水流成螺旋状向水平方向并继而向上流动,在曝气的同时兼有搅拌作用;池中无死区,夹带气泡的水平曝气流能完全冲刷池底的每个角落;
3、结构简单、紧凑、机组寿命长,能承受大负荷的轴承,采用油浴的转轴密封和吸入叶轮腔的空气防止工作时水与密封件接触,这些都保证曝气机在24小时连续工作,长期无故障运行;
4、节省工程投资,无需提供气源,省去鼓风机,安装方便,噪音小;进气管出水面可加装消音器,增强消音效果。
九、性能参数:









